
The CMI’s SEM LEO is exclusively reserved for imaging dedicated to the control of processes which have been done in the CMI by the regular CMI users.
RESERVATION POLICY:
- 2 booking slots maximum per day and per person (ie. 1h).
- 6 booking slots maximum per week and per person (ie. 3h).
- Penalty charges for unused booking, late cancellations, and mismatch between booked name and operator name apply.
Saved pictures are available on STI network (EPFL local or VPN): “\\sti1files\cmi-transfert\Z01-Zeiss-Leo“.
Offline analysis and metrology is available with ProSEM software.
AVAILABLE TRAINING:
Training session (2+1hr) is mandatory and it can be requested via the CMi website internal section.
System description
Overview
The CMI SEM LEO 1550 is composed of one GEMINI column, one process chamber with a motorized stage on 5 degree of freedoms (X, Y, Z, Tilt and Rotation) and one manual airlock.
Four different holders are available: (1) for small sample(s) which are fixed with the help of a conductor double side adhesive, (2) for cleaved sample(s), (3) for 150 mm wafer, (4) for 100 mm wafer.

The SEM is controlled by the ZeissSmartSEM software operated via a graphical user interface. The system is also fitted with a dual joystick for stage control and specimen navigation and with a main keyboard control panel for direct access to 14 of the most frequently used functions on the SEM.

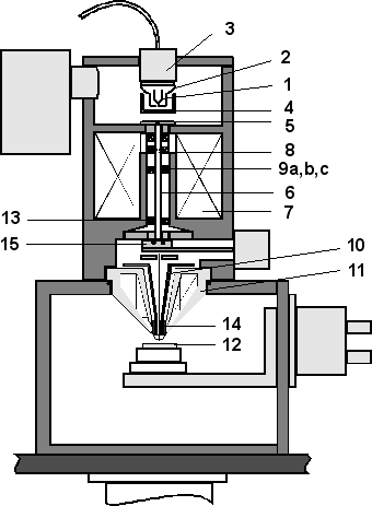
The GEMINI II column
The GEMINI column’s electron source is a Schottky Field Emission type made of tungsten and Zirconium (ZrO2). Here is a schematic view of the GEMINI column:

The tool consists of the Field Emission Gun (3), which provides the source of the electron beam, the Condenser Lens (7), used only in special operating modes, the Beam Booster, composed of Anode (5), Vacuum Tube (6), Apertures (8), Alignment Coils (9a, b, c), Stigmator (13), and Isolating Valve (15), and the GEMINI Objective Lens (10,11) which focuses the electron beam onto the specimen (12), also containing the Deflecting System (14).
The chamber vaccum (few 10-7 mbar) is held thanks to coupled primary/turbomolecular pumps and the secondary vaccum (few 10-10 mbar) is held thanks to an ion pump.
The GEMINI column advantage:
The acceleration voltage can be selected from 0.5 keV to several keV, according to the sample. This allows to effectively reduce and somehow control charging effects present when imaging insulating materials.
Available detectors
Two secondary electrons detectors have been installed:
InLens: installed inside the column (high resolution detector).
SE2: installed out of the column axis (better topography visualization).
Both detectors are complementary and it’s very easy to switch between them during imaging, compare their performances, and select or even combine their signals to obtain most informative results.
Basic operations
Starting with the ZeissSmartSEM software
First, the tool needs to be activated by logging onto CMi Zone 1 computer with personal access rights.
Double click on ZeissSmartSEM icon.

Alternatively, select Start/Programs/SmartSEM/SmartSEM User Interface. The EM Server Lon On dialogue appears.

By logging, the SmartSEM user interface opens and is ready to operate the tool. By default, a TV view inside the specimen chamber is shown.

The data zone is a special and useful group of annotation objects which are used to display useful parameters. If it is not open, select View/Data Zone/Show Data Zone from the menu. Alternatively, type Ctrl+d to toggle the data zone.
All icons from the toolbar run a specific action on the tool:

| nb | Left Button (LB) | Middle Button (MB) |
|---|---|---|
| 1 |
|
|
| 2 |
|
|
| 3 |
Pixel averaging (the larger the number longer is the averaging)
|
Continuous averaging (bigger is the number longer is the averaging)
|
| 4 |
|
|
| 5 |
|
|
| 6 |
|
|
Sample Loading
Initial SEM state: The EHT is off and the airlock is closed and at atmospheric pressure. The green SAS vacuum light should be OFF, and the orange LED light of the STABLE TABLE should be OFF as well. Start by opening latch number 1 (unlock the front door).

Unlock the black slider by pulling out the number 2 button. Slide the door by holding it by the black part and lift at the same time to avoid vibration. Once you start to move the black part, release the number 2 button. Continue to move the black slider until the number 2 locks itself again (the button is spring loaded).

Release (lift) button number 3 and open the door until it locks itself with button number 4. Screw your holder onto the transfer arm. Release button number 4 and return the door parallel to the load lock (button 3 locks itself).

Release 2 and slide the door by holding it by the black part and lift it at the same time to avoid vibration on the sample until the number 2 button is locked again. It must be all the way in, otherwise the vacum seal will not be good, and the loadlock will never reach vacuum. Lock the door with number 1 (the door must be nicely aligned and closed tightly to avoid leaks during pumping). Click on the Specimen Change via Airlock icon on the screen, or on Exchange button on the keyboard to start pumping. Wait for the green SAS vacuum light (= vacuum is good enough to open the door between the airlock and the main chamber).

Open the valve between the chamber and the airlock using button and lever number 5 and 6. Insert your sample(s) onto the stage rail. The loading arm should stop at the beginning of the white tape. If you can go further it’s because the holder has not loaded properly onto the stage (so retry to load it). Unscrew the rod from the sample holder and retract it fully out of the loadlock. Close the airlock/chamber door 5 valve with the locking pin 6.

Click OK on the macro message and afterwards click the Resume Exchange button to stop the loadlock pumping.

Sample Unloading
- Start by clicking on the Specimen Change via Airlock button (check before, if the front door is properly closed)
- When the green SAS vacuum light turns ON, open the valve between the airlock and the chamber
- Insert the transfer arm
- Screw it into the holder
- Extract the arm to the maximum
- Close the valve between the airlock and the chamber
- Click OK on the macro message and click the Resume Exchange button
- Unlock the door with the number 1
- Wait until the airlock reaches the atmospheric pressure
- Slide out the door by holding the black part and lift it at the same time to avoid vibration of the sample until the number 2 is locked again
- Open the door with the number 3
- Unscrew your holder from the transfer arm
- Release number 3 and close the door
- Slide the door by holding the black part till the number 2 is blocked again
- Lock the airlock door with number 1. Do not pump, the airlock is left vented when there is nobody using the tool.
Stage settings and motions
The Stage Navigation window can be used to initiate XY movement of the stage by double-clicking on the sample holder top view (the point where you double-click gets moved to the center). Be sure to select the correct holder from the list and to adjust the zoom view sliding bar to your needs. All five axes coordinates are reported in this window in order to save specific positioning on the sample if needed.

The STOP button on the Stage Navigation window or the Break button on the dual joystick can be clicked at any time to quickly stop any engaged motion of the stage.

To start imaging, bring the sample to about 5mm below the objective lens (5mm corresponds to a thickness of your pinky finger when held against the computer monitor).
Sample observations
Start by turning ON the Extra High Tension (EHT) in the software bottom right corner

Switch on the InLens by clicking on the appropriate button an the tools bar or simply click the button for scan speed 1

Adjust contrast using the keyboard contrast knob to restore the “good old grainy televison” look.
Reduce the Magnification to the minimum with the keyboard (zoom out).
Quickly focus the image. Once focused, check the WD (workind distance) value on screen. It should correspond the actual sample distance from the onjective lens, as the sample is in focus, and the WD tells what the focusing distance from the bottom of the objective lens is.

Find some small structure on your sample and zoom in on it. You may need to fine adjust focus as your magnification increases and you see better. You should be able to magnify all the way to 100k. Center some small object in the center of the screen.
You will need to now adjust stigmation, aperture alignment, and focus in order to maximize the image quality. It is a somewhat iterative process and it may need to be repeated two or three times to get to the ultimate settings.
Starts by increasing and decreasing the WD (moving in and out of focus) and try to see the stigmation default. The image will blurr in a different direction depending whether your WD is below or above the sample surface.

Bring the focus to the point, where the blurr around the structure is symmetric. Using the stigmator X and Y knobs on the keyboard make the image look as sharp as you can. Retouch focus in between if you need to.
Open the Apertures dialog (SEM Control -> Apertures or medium mouse button on the appropriate icon). Start the focus wobble by pushing the “Wobble” knob on the keyboard and try to stop the picture movement with either the Aperture Alignement X,Y knobs on the keyboard or with the Aperture Align red dot (simply dragg it in the direction of movement) or the Aperture Align sliding bars in the dialog window.

When you get the image to motionlessly blink in one spot, stop the wobble by pushing the “wobble” button again, and re-focus the image.
You can now fine tune the stigmation again in a fine mode. Click on the “Coarse” icon at the bottom right corner of the screen. The word “Fine” should replace the word “Coarse”.
Now you can zoom out and move where you want on your sample. As long as you don’t change any fundamental parameters on the system like EHT, aperture or observation plane you don’t have to do these settings again (except for small adjustments of focus as you move across an uneven surface of your sample).
To reduce the image noise we can use several different styles of averaging:
Continuous averaging: Does an averaging with several frames with a short electron beam exposition time. It’s particularly useful with insulator or polymer to reduce the charging effects on the image.
Pixel averaging (1,2,3,4): Does an averaging pixel per pixel by increasing its electron beam exposition time. It gives good results with conductor and semiconductor.
When you are happy with the picture quality, click the “Freeze” icon in the tool bar. The scanning stops as soon as the scan completes the frame. The beam is now blanked away from the substrate, and you have a static image on screen.

You can start the distance estimations with the annotation tool bar (Below the Data Zone).
To save picture go in File -> Save image. The file name is composed of a prefix and a suffix. The prefix is writen in the File name and the suffix is a number (go into Settings to change the next number).

Once you have specified once the file name and the directory, next time you can simply just press on the appropriate button on the tools bar to save a new picture with automatically increased suffix number.

Useful keyboard shortcuts
Ctrl + d : display/hide data zone
+ (numerical keyboard) : increase the scanning rate
– (numerical keyboard) : decrease the scanning rate
tab : fine/coarse mode
Ctrl + tab : center the sample where click on the picture
Ctrl + shift + tab : drag a rectangle on the picture and the system will automatically zoom in and center the sample into it
Ctrl + A : annotation tools